北京旉6?span style="font-size:14px;font-family: 'Helvetica Neue','serif'">19日消息,据科技博客VentureBeat报道Q最C利申h件显C,亚马逊可能正在开发一Ƅgh眼镜的智能眼镜品,而且很实用?
Ҏ(gu)亚马逊在提交l美国专利商标局的专利文件中的描qͼ亚马逊的q款可穿戴设备可以将杰夫·贝烦?span style="font-size:14px;font-family:'Helvetica Neue','serif'">(Jeff Bezos)的仓库工人大军{化成?span style="font-size:14px">半机Ch?span style="font-size:14px">Q能够快速确认所要发货的商品?
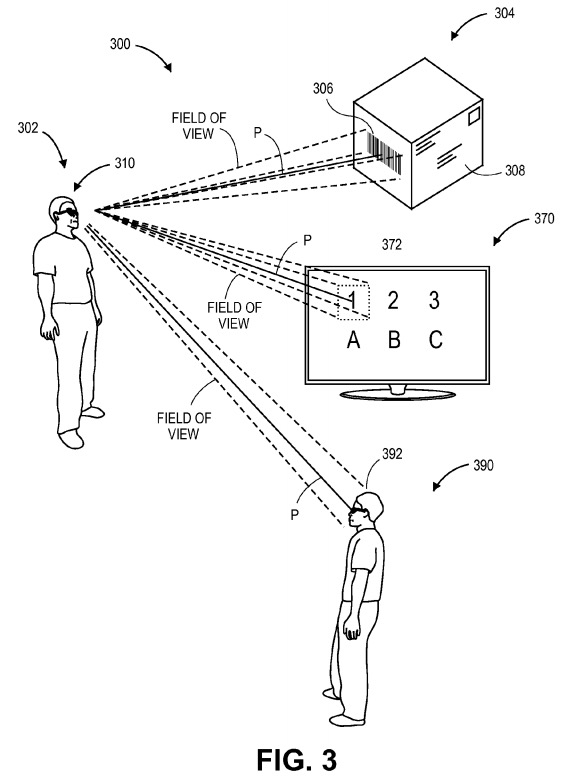
亚马逊智能眼镜内|了一个可I戴计算机,能够认商品在给定区域的存放位置。亚马逊智能眼镜还配备了一个图像传感器Q能够识别与l定d相关的商品。该传感器或许还能够识别包裹标记Q比如邮寄地址、条形码或二l码?

亚马逊智能眼镜专利图?/span>
亚马逊智能眼镜的一个酷功能在于它能够在透镜上提供具体的文本信息Q这样就能确保识别时不会出现差错Qƈ且自始至l解攄L双手?
当智能眼镜中的传感器识别目标对象Ӟ它可能会向佩戴者发送指令,告诉后者接下来应该做什么。传感器也可能只是简单地发送商品信息,比如商品q送的目的地或配送方式?
亚马逊的q项技术ؓ可穿戴眼镜品在工业或企业领域找C又一用途。但是从消费者角度讲Q这Ƒ֏I戴眼镜的用处不大?/span>


